Тег: battery
NCP1400A - Step-UP стабілізатор напруги
Я вже писав про Step-UP регулятори напруг MAX1674. Сьогодні мова піде про NCP1400A. NCP1400A має значно меншу ціну і виконує ті ж самі функції Step-Up регулятора напруги, але має нижчий ККД. Частота перетворення фіксована - 180 кГц. Документація на NCP1400A обіцяє запуск від напруги 0.8 В і роботу при напрузі 0,2 В. NCP1400A розрахована на максимальний струм 150 мА.
MAX1674, NCP1400, Max1724
Замена Ni-MH на LiFePO4
MAX1555. USB зарядное для Li-Po аккумулятора.
Аккумулятор литий-ионный - штука не новая и о способах его зарядки сказано много. Я опишу практический пример заряда однобаночного (3,7В) Li-Po аккумулятора, используя питание USB-разъема. Зарядка через USB - это наиболее удобный способ для мобильных устройств и приборов.
Но, перед тем как описать схему зарядного устройства, рассмотрим сами аккумуляторы. Существуют простые аккумуляторы, вроде таких:
И аккумуляторы со встроенным контроллером заряда. Выполнен контроллер в виде крохотной платы, припаянной к выводам аккумулятора. Обратите внимание, такие аккумуляторы обычно имеют контакты в виде проводов.
Действительно - это же логично: снабдить аккумулятор контроллером заряда. Пусть чуть дороже, но на сколько меньше хлопот. Но что кроется под этим названием: "контроллер заряда"?
Понижающий DC-DC преобразователь на 5V (3.3V) на базе MC34063
Мне потребовалось из более высокого напряжения получить 5В (а впоследствии 3.3В). При этом требовалось обеспечить экономичность, поскольку источником питания был аккумулятор и его заряд не бесконечный. Возможности организовать теплоотвод так же не будет, схема будет герметизирована. Линейные стабилизаторы напряжения, такие как LM7805 и им подобные, здесь не помогут. Нужен импульсный преобразователь (DC-DC Converter), т.е. понижающий Step-Down преобразователь напряжения. Преимущества импульсного преобразователя очевидны - высокая эффективность, не требует теплоотвода (по крайней мере, если и греются, то не так сильно как линейные преобразователи).
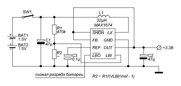
MAX1674 - DC/DC преобразователь. Высасываем батарейку до конца.
Для питания носимых приборов чаще всего применяются обычные батарейки. Удобные, популярные, везде можно купить. Чтобы максимально эффективно использовать батарейки, попросту говоря, высосать их до дна, применяют специальные DC/DC преобразователи. Как правило, это специализированные микросхемы. Я попробовал несколько из них и остановился на MAX1674EUA+. В первую очередь из-за высокого КПД 94%, миниатюрные габариты, и минимум дополнительных элементов. Микросхема выдает на выходе 3.3 или 5В. Питается напряжением от 0.7 до 6В. Проверено на одной пальчиковой батарейке 1.5 вольта, работает исключительно.
От слов к делу. Документация, так сказать, первоисточник здесь.
Проверенная временем схема для получения 3.3В:
Алкалайновые батарейки текут
Несколько лет назад я услышал миф о том, что алкалайновые батареи питания якобы не текут принципиально. И все это время я верил в этот миф. Но на днях
Tags
bme280 bmp280 gps mpu-6050 options stm32 ssd1331 ssd1306 eb-500 3d-printer soldering tim mpu-9250 dma watchdog piezo exti web raspberry-pi docker ngnix solar bluetooth foc html css brushless flask dc-dc capture gpio avr rs-232 mpx4115a atmega mongodb st-link barometer pwm nvic git java-script programmator dht11 hih-4000 pmsm encoder max1674 smd sensors rtc adc lcd motor timer meteo examples i2c usb flash sms rfid python esp8266 servo books bldc remap eeprom bkp battery ethernet uart usart displays led websocket nodemcu wifi
Архіви




